BMW запатентувала болти, які заважають самостійно відремонтувати авто (2 фото)
Концерн представив гвинти, які неможливо відкрутити стандартними інструментами – вони можуть зламатися та пошкодити всю конструкцію.
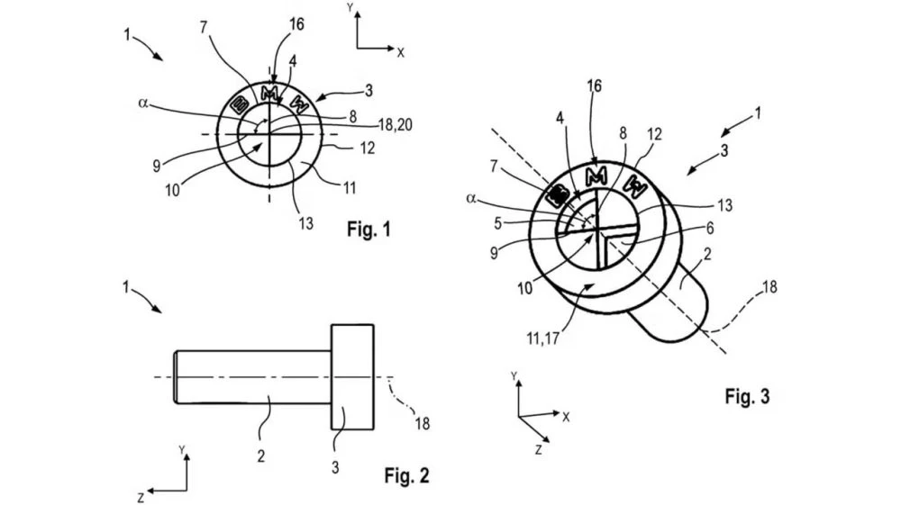
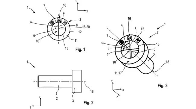
Поки одні автовиробники, наприклад Mercedes, спрощують ремонт своїх машин, замінюючи клей у фарах на гвинти, BMW рухається у зворотному напрямку. Баварський концерн запатентував новий тип кріплення, головки якого виконані у формі фірмового логотипу марки. Ескізи, подані в патентне бюро Німеччини, демонструють гвинти з головками, розділеними на чотири сектори, що імітують знаменитий "пропелер" BMW.
Патент описує чотири варіанти виконання, де два сектори поглиблені, а два інших - плоскі або опуклі. Така конструкція унеможливлює використання стандартних викруток і ключів. Для роботи з цими гвинтами буде потрібний спеціальний інструмент, який, швидше за все, буде доступний тільки офіційним дилерам. Хоча візуально такі деталі могли стати цікавим штрихом в інтер'єрі або під капотом, для власників і сторонніх сервісів це обернеться лише головним болем.
На даний момент невідомо, чи «брендовані» болти підуть у серію чи залишаться лише на папері. Патент було подано влітку 2024 року та опубліковано зараз, у грудні 2025 року. ![]()











