The German company continues to improve fossil fuel engines doomed to extinction.
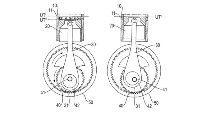
The inventors took on the 4-stroke internal combustion engine operating scheme that has remained unchanged for decades, consisting, as is known, of four cyclically repeating phases: intake, compression, power stroke and exhaust.
Porsche engineers added two more phases to the middle of the cycle, dividing it into two 3-stroke sequences according to the formula "intake - compression - power stroke and compression - power stroke - exhaust". This was made possible by a crankshaft of a modified design, changing the axis of rotation with a decrease in the piston stroke. As a result, the engine has two upper and lower dead points.
It is claimed that the innovation guarantees more power with the same volume. Another bonus is a decrease in emissions due to more efficient combustion of the fuel-air mixture. The price will be a more complex design of the power unit with all the inevitable consequences.
Documents for the 6-stroke engine have already been filed by Porsche with the US Patent and Trademark Office. Nevertheless, it is unlikely that the development will be implemented not only on production cars, but even on prototypes in the coming years. However, the fact itself hints that the Germans have not lost faith in the prospects of the internal combustion engine.












