A saving idea and life as the struggle of one inventor (6 photos)
Robert Kearns was born in 1927 and has been interested in cars since childhood. His hobby made him famous, but it deprived him of something else. 
The starting point for the implementation of Robert’s idea, as he himself claimed, was... the wedding night. The worried new husband awkwardly opened the champagne, and the cork hit the poor man in the left eye, almost depriving him of his vision. It was saved, but problems remained. 
With a family
10 years later, a professor at the University of Detroit, Kearns was driving with his family in rainy weather and reflected on the fact that the windshield wipers were moving continuously, creating a constant noise. And at the end of each cycle they stop, making the driver “blind” for several seconds. Considering my poor vision, this was very annoying.
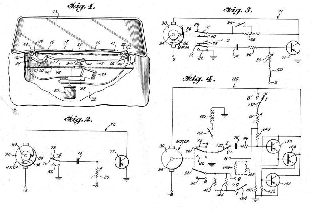
And the professor came up with a special intermittent system focused on the movement of human eyes. The mechanism operated in such a way that the driver could choose the speed of movement of the brushes and the duration of pauses. 
Kearns offered a prototype to Ford. The engineers were very interested in the invention, but demanded that the principle of operation be disclosed before signing the contract, arguing that the device was extremely dangerous.
The man was accepted into the team, but six months later he was fired for a far-fetched reason. While windshield wipers continued to be used by the company.
The inventor experienced so much stress that he ended up in a psychiatric hospital and suddenly turned gray. After a course of treatment, Kearns decided to fight and filed a lawsuit for copyright and patent infringement. 
In fact, the manufacturer used the usual practice of so-called effective infringement of rights. Its essence is that it is easier for a large company to appropriate a patented product and slowly and for a long time deal with the consequences in court, rather than license it on its own. This is beneficial, especially considering that small inventors simply cannot afford to spend enormous amounts of money and years on protracted litigation.
Kearns changed several lawyers and completely immersed himself in the matter in order to achieve justice and prove his case. He refused the compensation offered by Ford in the amount of $30 million. 
This obsession destroyed Robert's family. The wife could not stand it and left, taking the children, the relationship with whom also became complicated. Only in 1990, after 12 years of litigation, Robert was able to sue the manufacturer, who during this time earned 575 million, 10 million from selling cars using a stolen invention. Later, the inventor sued 18 million from Chrysler. The court did not satisfy the remaining 18 claims.
But despite the success, money did not bring happiness to Kearns. After all, the best years of his life have passed, he lost his family, and did not open his own business as planned. Robert died of cancer complicated by Alzheimer's disease in 2005. By the time of his death, intermittent windshield wipers had become an industry standard. 
Still from the film "A Glimpse of Genius"
Kearns' story was the subject of the 2008 film A Flash of Genius, starring Greg Kinnear.










